Precyzyjny miernik zawartości wody w glebie materiałach sypkich VWC RS485
Regular price:
product unavailable
Precyzyjny miernik zawartości wody w glebie, który również może służyć do pomiary zawartości wody w ziarnie, nasionach lub innych materiałach sypkich.
Jest kalibrowany metodą ważenia przez suszenie próbek gleby. Miernik jest wykonany metodą zalewania próżniowego. Można ten przyrząd całkowicie zakopać w ziemi na takim poziomie jaki potrzebujemy, który wynika z systemu korzeniowego uprawianych roślin.
Dzięki komunikacji poprzez RS485 przewody do tego miernika można przedłużyć nawet do 1200m. Mierzy również temperaturę gleby.
Szeroko stosowany w eksperymentach naukowych. Pozwala utrzymać wegetację roślin przy minimalnych nakładach na nawadnianie.
- Napięcie zasilania: 4.5-30V DC
- Moc pobierana:0.7W (24V DC)
- Dopuszczalna temp. pracy: -40℃~+60℃
- Odporność: IP68
- Sonda wykonana z materiału antykorozyjnego
- Materiał uszczelniający: czarna żywica epoksydowa
- Długość kabla: ~2m
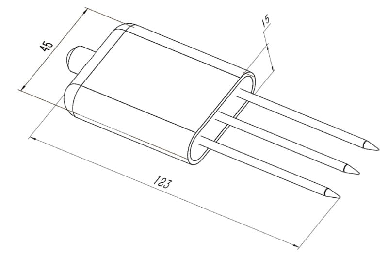
- Wymiary: 45*15*123mm
- Komunikacja: RS485 Modbus
- Domyślna prędkość transmisji: 4800
Pomiar wilgotności gleby:
- Zakres pomiarowy: 0-100%
- Rozdzielczość pomiaru:0.1%
- Dokładność: 2% w zakresie 0-50%, 3% w zakresie 50-100%
Pomiar temperatury gleby:
- Zakres: od -40 do +80 ℃
- Rozdzielczość: 0.1 ℃
- Dokładność pomiaru: ±0.5℃
Oznaczenia przewodów czujnika:
- Czarny - Masa zasilania
- Brązowy - Plus zasilania
- Żółty - RS485 A
- Niebieski - RS485 B
Wymiary:

Protokół transmisji:
Aby odebrać dane z czujnika wysyłamy do niego:
| Adres | Kod Funkcji | adres rej początkowego | Ilość rejestrów | Suma CRC młodszy Bajt |
Suma CRC starszy Bajt |
|---|---|---|---|---|---|
| 0x01 | 0x03 | 0x00 0x00 | 0x00 0x03 | 0x05 | 0xCB |
Opis ramki danych odebranych z czujnika:
| Adres | Kod Funkcji | ilość bajtów wysłanych przez czujnik | wartość wilgoci | wartość temperatury | wartość przewodności | Suma CRC młodszy Bajt | SumaCRC starszy Bajt |
|---|---|---|---|---|---|---|---|
| 0x01 | 0x03 | 0x06 | 0x02 0x92 | 0xFF 0x9B | 0x03 0xE8 | 0xD8 | 0x0F |
wilgotność:
292Hex na DEC = 658 => 65.8%
temperatura:
FF9BHex na DEC = -101 => -10.1℃
Przykład z wykorzystaniem aplikacji Realterm i adaptera USB RS485

wilgotność:
0022Hex na DEC = 34 => 3.4%
temperatura:
0138Hex na DEC = 312 => 31.2℃
Nota katalogowa czujnika:
Opis podobnego czujnika oraz sposób jego wykorzystania:



